
- images (1).jpg (6.38 KiB) Viewed 123968 times

- images.jpg (7.09 KiB) Viewed 123968 times

- Engelbart.png (29.79 KiB) Viewed 123968 times
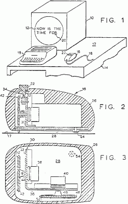
The computer mouse as we know it today was invented and developed by Douglas Englebart during the 60's and was patented on November 17, 1970. While creating the mouse, Douglas was working at the Stanford Research Institute, a think tank sponsored by Stanford University, and originally referred to the mouse as a "X-Y Position Indicator for a Display System." This mouse was first used with the Xerox Alto computer system in 1973. However, because of its lack of success the first widely used mouse is credited to being the mouse found on the Apple Lisa computer. Today, the mouse is now found and used on every computer.
The original 100-minute video of this event is part of the Engelbart Collection in Special Collections of Stanford University. This original video has been edited into 35 segments and reformatted as Flash streaming video clips. There is a brief abstract of the subject matter treated in each segment. :
http://sloan.stanford.edu/MouseSite/1968Demo.htmlVideo stream of the :
http://sloan.stanford.edu/MouseSite/1968Demo.html#complete